Под маркой SAFEtronics выпускается широкая линейка офисных и мебельных сейфов. Производитель — SAFEtronics PRAHA a.s. (Словакия). Как и все европейские бренды сейфы SAFEtronics имеют современный дизайн, отличаются высоким качеством исполнения, превосходными потребительскими качествами и демократичными ценами.
На сегодняшний день сейфы SAFEtronics представлены на рынках Российской Федерации, Чехии, Словакии, Украины, Беларуси, Польши, Венгрии, Сербии, Словении и других стран Европы.
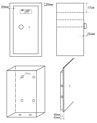
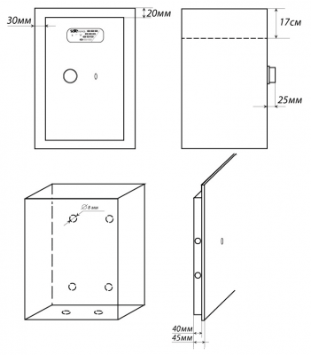
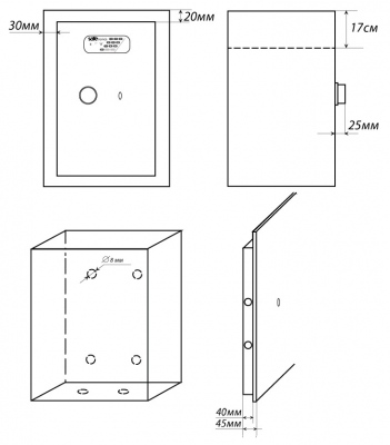
Взломостойкие качества сейфов подтверждены аккредитованным испытательным центром TREZOR TEST ltd. согласно стандартам EN 1143-1. Официальная гарантия на сейфы — 1 год.
На сегодняшний день сейфы SAFEtronics представлены на рынках Российской Федерации, Чехии, Словакии, Украины, Беларуси, Польши, Венгрии, Сербии, Словении и других стран Европы.
Взломостойкие качества сейфов подтверждены аккредитованным испытательным центром TREZOR TEST ltd. согласно стандартам EN 1143-1. Официальная гарантия на сейфы — 1 год.
